igus-icon-lupe
igus-icon-lupe
1 su 2
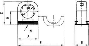
- Poliammide formulata di alta qualità
- Autoestinguente, privo di alogeni, fosforo e cadmio
- Eccezionale resistenza agli urti
- Intervallo di temperatura: da -40°C a 105°C; per brevi periodi 160°C
igus-icon-lieferzeit-dotI-BFH-10-0
10
