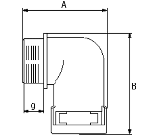
PMAFIX VWD: raccordo angolare 90°
Ordine campioni e catalogo File PDF
Condizioni di vendita Colophon Note generali Dichiarazione di protezione dei dati