Selezionare la località di consegna

La scelta della pagina del paese/regione può influire su diversi parametri, come prezzo, opzioni di spedizione e disponibilità del prodotto.
Il mio contatto
Seleziona luogo

Dopo aver selezionato il codice postale e la categoria di prodotto, vi indicheremo immediatamente la persona di riferimento per la vostra zona.

IT(IT)

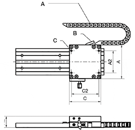
drylin® WKMEX-10-80: sistema di misura pronto all'installazione

A = catena portacavi 045.10.028.0, non compresa nell'articolo
B = cavi di segnale
C = K2
Il sistema di misura drylin® WKMEX richiede uno spazio di installazione molto ridotto. La testa del sensore è integrata nella slitta alta appena 36 mm. Sono disponibili tre opzioni di sensori, due compatibili con TTL Line Driver. Si consiglia una catena portacavi igus® 045.10.028.0 per la guida del cavo di segnale. Per i codici articoli con lunghezza specifica vedere:
Sistema E2 micro
Sistema easychain®

Sistema pronto all'installazione per l'output esterno dei dati

Con trigger in modalità 4 (parametri di settaggio display o sistema di comando, ad es. IW4) e temperatura ambiente di +20 °C: risoluzione ±(0,025 + 0,02 · L) L = misura lunghezza in metri; ripetibilità: ±0,025 mm

Con trigger in modalità 1 (parametri di settaggio display o sistema di comando, ad es. IW1) e temperatura ambiente di +20 °C: risoluzione ±(0,1 + 0,02 · L) L = misura lunghezza in metri; ripetibilità: ±0,025 mm

Sensore compatto con elettronica di valutazione integrata

Uscite: push-pull a prova di corto circuito con segnali invertiti (A. A/, B, B/, Z, Z/)

Programma di fornitura strumento di misura

Tutti i tipi A A2 C C2 H2 K2 Risoluzione    
  [mm] [mm] [mm] [mm] [mm] [mm] [mm]    
in genere in spedizione entro 10 giorni lavorativi WKMEX-10-80-2.5-00-01 107 70 100 87 36 M6 0,1 a richiesta Aggiungi al carrello
in genere in spedizione entro 10 giorni lavorativi WKMEX-10-80-2.5-01-01 107 70 100 87 36 M6 0,1 a richiesta Aggiungi al carrello
in genere in spedizione entro 10 giorni lavorativi WKMEX-10-80-2.5-11-01 107 70 100 87 36 M6 0,1 a richiesta Aggiungi al carrello
Altre informazioni sull'articolo scelto:
CAD 3D CAD 3D
Ordinazione campione Ordinazione campione
PDF PDF
Richiesta prezzo Richiesta prezzo
myCatalog myCatalog
  Tipo di sensore Tensione nominale Potenza di uscita Lunghezza max. del cavo di segnale
  00 10 - 30 V 10 - 30 V 30 m
  01 10 - 30 V 5 V (TTL Line Driver) 50 m
  11 5 V 5 V (TTL Line Driver) 10 m
specifiche
Principio di misurazione Incrementale
Precisione di ripetizione Incremento ± 1
Divisione poli 5 mm
Alloggiamento sensore Pressofuso in zinco
Grado di protezione IP67
Temperatura di esercizio -10 … +70° C
Umidità max. 95%, senza condensa
Velocità max. 4,0 m/s
Alimentazione VDC 5 VDC o da 10 a 30 VDC
Consumo di corrente 5 VDC: max. 200 mA
10-30 VDC: max. 150 mA
Elettronica di valutazione interna Elettronica di valutazione interna
Potenza di uscita 5 V-TTL line driver o 10-30 V_HTL
Alimentazione A, A‘,B, B‘, Z, Z‘
Lunghezza max. cavo Lunghezza max. cavo 5V/5V-TTL = 10 m
10-30V/10-30V = 30 m
10-30V/5V-TTL = 50 m

Distanza massima ammissibile dal nastro magnetico 2,0 mm
Metodo di collegamento Estremità cavo aperte

Altre informazioni:


in genere in spedizione entro 10 giorni lavorativi

I termini "Apiro", "AutoChain", "CFRIP", "chainflex", "chainge", "chains for cranes", "ConProtect", "cradle-chain", "CTD", "drygear", "drylin", "dryspin", "dry-tech", "dryway", "easy chain", "e-chain", "e-chain systems", "e-ketten", "e-kettensysteme", "energy chain", "energy chain systems", "e-loop", "enjoyneering", "e-skin", "e-spool", "fixflex", "flizz", "i.Cee", "ibow", "igear", "iglidur", "igubal", "igumid", "igus", "igus improves what moves", "igus:bike", "igusGO", "igutex", "iguverse", "iguversum", "kineKIT", "kopla", "manus", "motion plastics", "motion polymers", "motionary", "plastics for longer life", "print2mold", "Rawbot", "RBTX", "readycable", "readychain", "ReBeL", "ReCycle", "reguse", "robolink", "Rohbot", "savfe", "speedigus", "superwise", "take the dryway", "tribofilament", "tribotape", "triflex", "twisterchain", "when it moves, igus improves", "xirodur", "xiros" e "yes" sono marchi registrati di igus® SE & Co. KG legalmente protetti nella Repubblica Federale Tedesca e, ove applicabile, in alcuni paesi esteri. Si tratta di un elenco non esaustivo di marchi (ad es. in corso di registrazione o marchi registrati) di igus® SE & Co. KG o di società affiliate a igus® in Germania, nell´Unione Europea, negli Stati Uniti e/o in altri paesi o giurisdizioni.

igus® SE & Co. KG dichiara di non vendere prodotti delle aziende Allen Bradley, B&R, Baumüller, Beckhoff, Lahr, Control Techniques, Danaher Motion, ELAU, FAGOR, FANUC, Festo, Heidenhain, Jetter, Lenze, LinMot, LTi DRiVES, Mitsubishi, NUM, Parker, Bosch Rexroth, SEW, Siemens, Stöber e tutti gli altri produttori di sistemi di azionamento menzionati in questo sito web. I prodotti proposti da igus® sono quelli di igus® SE & Co. KG